干法制粒機工作原理:
小型干法制粒機是試驗用干法制粒機,該機是供實驗室研發用的干法制粒機,適用于實驗室、中間實驗裝置和小型生產,只需50克左右干粉末就可以其成型性。
根據機械擠壓造粒工藝原理,將配置好的,具有一定結晶水的干粉狀或微細晶體狀原料,擠壓成薄片,隨后經造粒系統,通過篩網制成所需大小的顆粒。
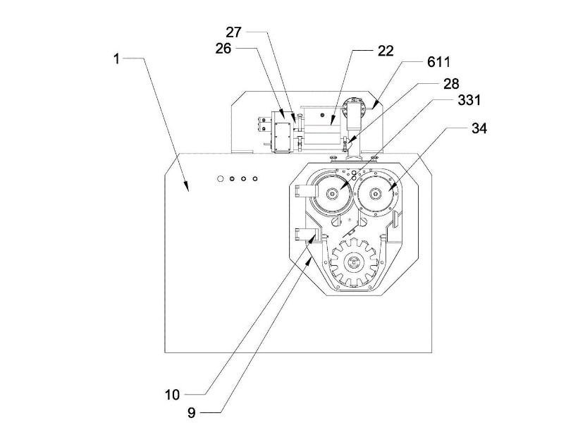
原料可通過手工或真空上料機加入料斗,經垂直放置的送料螺桿輸送和壓縮,被推至兩擠壓輥輪的咬入角;通過水平放置的壓輥,將原料擠壓成薄片(壓輥的速度決定物料在輥壓區停留的時間);

物料所需的壓力通過液壓裝置線性傳送給壓輥,垂直排列的壓輥可保證物料密度的一致性。本機裝拆、清洗方便。
根據不同顆粒度要求,設備造粒系統中的篩網目數大小可相互更換。
將粉體原材料直接制成滿足用戶要求的顆粒狀產品,無需任何中間體和添加劑,
造粒后產品粒度均勻,堆積密度顯著增加,改善流動性,既控制了粉塵飛揚;
又減少粉料浪費,便于貯存和運輸,可控制溶解度、孔隙率和比表面積等。可直接用于壓片或充填膠囊。
特別適用于傳統濕法制粒無法造粒的,濕熱條件下不穩定的藥物進行造粒。干法造粒工藝可替代濕法制粒的流水線投入,節省人力、物力、財力,是節能環保的新型設備。
小型干法制粒機優點:
本機有送料機構、壓片機構、液壓機構、機架和電氣控制等部件組成,送料,壓片、制粒均采用變頻無級調速,油泵壓力可調,成品細度可以通過更換不同的篩網獲得。
改進制粒轉籠,增加了顆粒的成品率。本機裝拆、清洗方便,與物料接觸部分皆為不銹鋼制作。產品符合GMP要求。
物料由頂部送料漏斗加入,經兩壓輪強制擠壓成片狀后進入下部制粒室,在制粒室中片狀物料被制粒刀片打碎;
然后進入整粒室,直至顆粒小于或等于網孔徑,顆粒通過網篩到盛料托盤。所需要顆粒大小可以通過調整篩網大小來決定。
小型干法制粒機應用范圍:
用于食用制藥、農藥、食品、化工等行業的干粉制粒需求。
干法制粒機拆解圖: